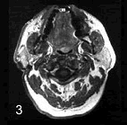
女性,55岁。右耳垂下无痛性肿块逐渐缓慢长大6年。触诊肿块界线清楚,活动,约4cm×5cm大小,表面呈结节状,中等硬度,与皮肤无黏连。
题型: 共用材料
分类: 口腔颌面外科学
CT 检查结果如图,该病最可能的诊断是 ( )

题型: 多选题
- A.腮腺腺淋巴瘤
- B.腮腺多形性腺瘤
- C.皮脂腺囊肿
- D.慢性淋巴结炎
- E.耳下淋巴结转移癌
最有意义的辅助检查是 ( )
题型: 多选题
- A.切除活检
- B.唾液成分化验
- C.细针吸取细胞活检
- D.唾液分泌量检查
- E.唾液涂片检查
对诊断帮助最小的影像学检查是 ( )
题型: 多选题
- A.腮腺区CT
- B.腮腺平片
- C.腮腺造影X线片
- D.腮腺区MRI
- E.腮腺区B超
如果肿块近期增长加快,并出现疼痛、瘤体固定等征象,则应考虑诊断为 ( )
题型: 多选题
- A.恶性多形性腺瘤
- B.多形性腺瘤恶变
- C.腺淋巴瘤恶变
- D.转移癌
- E.皮脂腺囊肿恶变
治疗该病最不宜采用的方法是 ( )
题型: 多选题
- A.如果肿瘤位于腮腺浅叶,则保留面神经将浅叶及肿瘤一并切除
- B.无论肿瘤位于浅叶或深叶,均切除全腺叶及肿瘤,保留面神经
- C.保留面神经在正常腺组织内将肿瘤一并切除
- D.如果肿瘤位于腮腺深叶,则保留面神经将肿瘤及全腺叶一并切除
- E.保留面神经顺包膜将肿瘤切除
术前向患者及家属交代术后可能出现的问题中不应包括 ( )
题型: 多选题
- A.涎瘘
- B.下唇麻木
- C.口角歪斜
- D.耳垂麻木
- E.Frey综合征